ระบบถุงลมนิรภัย หรือ Air-Bag ถือเป็นหนึ่งในระบบสำคัญที่ถูกออกแบบมาเพื่อป้องกันและลดอาการบาดเจ็บของผู้ใช้ยานพาหนะคันนั้นๆมาโดยตลอด แต่ในอนาคตดูเหมือนมันจะไม่ได้มีประโยชน์แค่นั้นอีกต่อไปแล้ว เนื่องจากเหล่าผู้ผลิตรถยนต์ เริ่มออกแบบให้มันสามารถป้องกันและลดอาการบาดเจ็บของเพื่อนร่วมถนนได้แล้วด้วย

เกี่ยวเรื่องนี้ เป็นทาง Honda ผู้ผลิตยานพาหนะเจ้าดังที่ได้คิดค้นเทคโนโลยี Air-Bag นอกตัวรถเป็นรายล่าสุด โดยในสิทธิบัตรที่เพื่อนๆเห็นอยู่นี้ ก็จะถูกออกแบบขึ้นมาเพื่อให้มันสามารถลดอาการบาดเจ็บของผู้ที่ถูกชน หรือผู้ที่เข้ามาชนรถได้อย่างครอบคลุม ไม่ว่าจะเป็นคนเดินเท้า, คนปั่นจักรยาน, หรือแม้แต่คนขี่รถมอเตอร์ไซค์

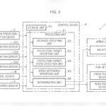
ซึ่งระบบนี้จะไม่ได้ใช้แค่เส้นเซอร์วัดแรงสั่นสะเทือนเป็นตัวเปิดระบบเท่านั้น แต่ยังใช้เรดาร์เซนเซอร์ผนวกกับกล้องจับภาพสำหรับตรวจจับวัตถุหรือคนที่กำลังจะพุ่งเข้ามา หรือรถกำลังจะพุ่งเข้าไปปะทะ เพื่อจัดการประมวลผลว่าควรมีถุงลมจุดใดบ้างที่ต้องพองออกไป รวมถึงตัวรถต้องเป็นอย่างไร เช่นการเบรก, เลี้ยว, หรือพองฝากระโปรงขึ้นเพื่อช่วยซับแรง ถึงจะลดอาการบาดเจ็บของผู้ที่กำลังจะถูกปะทะให้มากที่สุดเท่าที่ได้อีกด้วย

อย่างไรก็ดีนี่ไม่ได้ถือว่าเป็นแนวคิดที่ใหม่เท่าไหร่นัก เพราะก่อนหน้านี้ก็มีค่ายรถยนต์เจ้าหนึ่งเคยเสนอไอเดียและทำการทดลองเอาไว้แล้วเมื่อปี 2018 ทว่าระบบที่ผู้ผลิตรายดังกล่าวออกแบบไว้นั้น ยังไม่มีความซับซ้อนมากเท่าที่ Honda พึ่งคิดออกมาล่าสุด เนื่องจากมันยังใช้แค่เพียงเซนเซอร์วัดแรงสั่นสะเทือนตามจุดต่างๆเพื่อพองถุลมที่ซ่อนเอาไว้ออกมาเท่านั้น แต่นั่นก็ถือว่าน่าชื่นชมไม่น้อยล่ะครับ ถ้าหากพวกเขาจะติดตั้งมันเข้ามาในรถยนต์ในอนาคตจริงๆ ซึ่งเราเชื่อว่าคงอีกไม่กี่ปีนับจากนี้นี่แหล่ะครับ อาจจะสัก 3-5 ปีข้างหน้าก็เป็นได้
ขอบคุณข้อมูลจาก GPone, BikeSocial
อ่านข่าว Honda เพิ่มเติมได้ที่นี่
เพื่อนๆ Bikers สามารถติดตามข่าวสารวงการล้อ ได้ทางแฟนเพจ MotoRival ของเราครับ










