ย้อนกลับไปเมื่อช่วงต้นปีที่ผ่านมา Yamaha ได้ทำการเปิดตัว Nmax รุ่นใหม่ล่าสุดในไทย โดยมันมาพร้อมกับเทคโนโลยีใหม่อย่าง ชามหน้าไฟฟ้า Y-ECVT ที่จะทำการเปลี่ยนเม็ดตุ้ม และชุดชามหน้าที่ควบคุมด้วยแรงเหวี่ยงปกติ มาใช้การควบคุมผ่านระบบไฟฟ้าและมอเตอร์แทน

แต่คู่แข่งรายสำคัญอย่าง Honda มีหรอจะอยู่นิ่งให้คนอื่นแซงไปได้ เพราะล่าสุดพวกเขาก็ได้ทำการจดสิทธิบัตรชิ้นใหม่ เป็นระบบเกียร์ CVT ที่ควบคุมด้วยระบบไฟฟ้าเหมือนกัน แถบระบบที่ว่านี้ก็ถูกออกแบบให้ทำงานร่วมกับรถตัวฮิตอย่าง PCX หรือ Click อีกด้วย

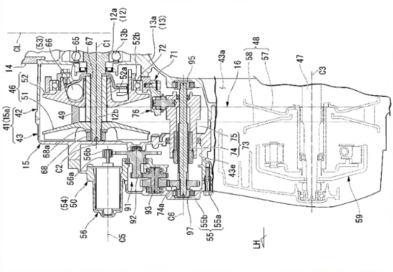
ในส่วนของหลักงานทำงานนั้นก็แทบจะเหมือนกับระบบของ Yamaha นั่นคือการติดตั้งมอเตอร์ไฟฟ้าเข้าที่ชามหน้า มอเตอร์ที่ว่านี้จะทำงานร่วมกับสมองกล ที่จะควบคุมอัตราทดเกียร์ให้เปลี่ยนไปตามความเร็ว และรอบเครื่องยนต์ ก่อนที่จะส่งกำลังขับเคลื่อนไปสู่ล้อหลัง

ซึ่งระบบที่ว่านี้ก็จะเข้ามาทำงานแทนการใช้เม็ดตุ้มแรงเหวี่ยง ที่เป็นระบบกลไกตามปกติ รายละเอียดที่ระบบของ Honda ต่างออกไปนั้นเหมือนว่าจะเป็นแค่ในส่วนของตำแหน่งการติดตั้งชุดมอเตอร์ไฟฟ้า ที่จะติดตั้งอยู่ด้านนอกเครื่องยนต์ จนสามารถมองเห็นความต่างได้ตั้งแต่ภายนอก

นี่อาจจะเป็นแนวทางใหม่ของค่ายปีกนก ที่ไม่ว่าจะติดตั้งระบบใหม่อะไรเข้าไป ไม่ว่าจะเป็น DCT หรือ E-Clutch พวกเขาก็มักจะไม่ซ่อนมัน แต่จะทำให้คนเห็นความแตกต่างได้จากภายนอกไปเลย

ข้อดีของระบบ CVT ที่ควบคุมอัตราทดด้วยระบบไฟฟ้า ก็คือผู้ขี่สามารถเลือกโหมดการขับขี่ได้หลายแบบ จะให้รถประหยัดน้ำมัน แต่มีอัตราเร่งที่ที่ไม่ดุดัน หรือจะขี่แบบเน้นอัตราเร่งที่กระฉับกระเฉง แต่ไม่ต้องแคร์เรื่องค่าน้ำมันก็ได้ ต่างกับระบบปกติที่จะมีอัตราทดแค่แบบที่โรงงานตั้งค่าไว้ให้

แต่เราขอบอกทุกคนไว้ก่อนว่าระบบที่ว่านี้ ยังเป็นแค่ภาพสิทธิบัตร ที่ถึงแม้ว่า Honda จะแสดงท่าทีสนใจและเลือกที่จะพัฒนา แต่ระบบนี้จะถูกใช้ในรถสำหรับการจำหน่ายในวงกว้างด้วยหรือไม่ เราก็ต้องรอดูความนิยมและความต้องการของตลาดกันก่อน เพราะการติดตั้งระบบที่ว่านี้จะทำให้ต้นทุนของรถสูงขึ้นแน่นอน
ที่มา tmcblog
อ่านข่าวสาร Honda เพิ่มเติมได้ที่นี่

