Yamaha ยื่นจดสิทธิบัตร รถมอเตอร์ไซค์ใหม่ ซึ่งที่น่าแปลกใจ คือ เป็นสิทธิบัตรของรถ ที่ขับเคลื่อน 2 ล้อ (หน้า-หลัง)

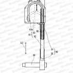
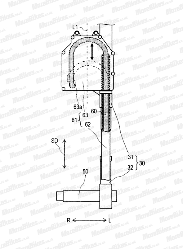
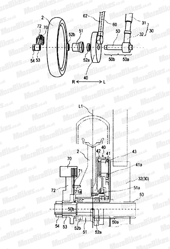
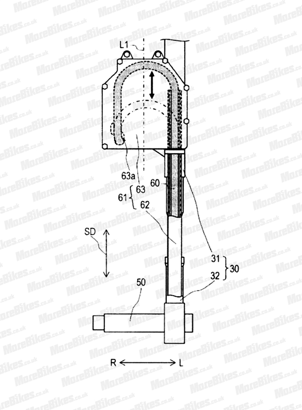
โดยสิทธิบัตรที่ทาง Yamaha ได้ยื่นจดขึ้นมานั้น เผยถึงความจริงจังอย่างมากที่จะสร้างรถมอเตอร์ไซค์ขับเคลื่อน 2 ล้อ ในแบบที่ไม่ใช้โซ่หรือเพลาเป็นตัวขับเคลื่อนล้อหน้าเหมือนยุคก่อนๆ

แต่ในครั้งนี้ทางค่ายเลือกที่จะใช้มอเตอร์ไฟฟ้าเป็นตัวให้กำลังกับล้อหน้า โดยมีเพียงชุดสายไฟที่เชื่อมต่อจากแบตเตอรี่ซึ่งติดตั้งอยู่บนตัวโครงรถเท่านั้นที่จะเกี่ยวข้องกับระบบให้กำลังชุดนี้ ส่วนล้อหลังยังคงเป็นแบบโซ่หรือสายพานที่ได้รับกำลังจากเครื่องยนต์สันดาปเช่นเดิม

ส่วนวันเวลาที่เราจะได้เห็นเจ้ารถมอเตอร์ไซค์ขับเคลื่อน 2 ล้อ จาก Yamaha นั้น เราไม่สามารถระบุได้เลย เนื่องจากทางค่ายไม่ได้ลงรายละเอียดไว้ในเอกสารแม้แต่น้อย
ขอบคุณที่มา Morebikes
อ่านข่าวสาร Yamaha เพิ่มเติมที่ได้ที่นี่
เพื่อนๆ Bikers สามารถติดตามข่าวสารวงการล้อ ได้ทางแฟนเพจ MotoRival ของเราครับ









