ใกล้ความจริงเข้ามาเรื่อยๆแล้วสำหรับซุปเปอร์ไบค์เครื่องยนต์ V4 จาก Honda ที่จะเข้ามาทำตลาดสูงกว่า CBR1000RR สปอร์ตไบค์เรือธงในปัจจุบัน โดยล่าสุดเราก็ได้ไฟล์ภาพสิทธิบัตรและข้อมูลมาเพิ่มเติมอีกเล็กน้อย ซึ่งมันก็พอจะทำให้เราทราบกันว่าเจ้าน้องใหม่รายนี้จะพกพาเทคโนโลยีที่น่าสนใจมาพอสมควรเลยทีเดียวก่อนเปิดตัวในปี 2018
โดยสิ่งแรกที่เราเห็นได้จากสิทธิบัตรก็คือตัวเครื่องยนต์ที่ถูกวาดด้วยเส้นประเป็นลักษณะของเครื่องยนต์วางสูบแบบตัว V ค่อนข้านชัดเจน และแม้ว่าในเอกสารจะไม่ได้ระบุไว้ว่ามันมีจำนวนลูกสูบกี่ลูก แต่เราก็เชื่อว่าทาง Honda คงจะไม่พลิกโผด้วยการใช้เครื่องยนต์ V-Twin แน่นอน

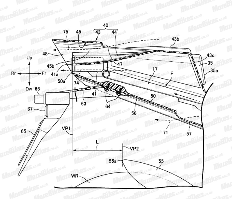
ต่อมาเป็นภาพของมุมบนพักเท้าซึ่งนี่ก็เป็นอีกสิ่งนึงที่ทาง Honda ค่อนข้างเน้นในสิทธิบัตรเช่นกัน น่าเสียดายที่เราไม่ทราบว่าเจ้าพักเท้าแบบใหม่นี้มีความพิเศษอย่างไร แต่คาดว่าจะมีการออกแบบตำแหน่งให้ดุดันและเหมาะสมกับการใช้งานแนวสปอร์ตพอสมควรเพื่อรองรับกับเบาะนั่งที่เห็นได้ชัดว่ามันมีมุมกดลงต่ำพอสมควรเลยทีเดียว
นอกจากนี้ถ้าสังเกตุไปที่ชิ้นส่วนตัวเลข 29R ซึ่งเป็นชิ้นส่วนวงกลม 2 วง ขนาดเท่าๆกัน ข้อมุลในเอกสารได้ระบุไว้ว่ามันคือท่อไอเสียซึ่งการเดินท่อไอเสียแบบนี้มันก็คล้ายๆกับของตัวแข่ง RC213V นั่นยิ่งทำให้มั่นใจได้เลยว่าเจ้านี่เป็นเครื่องยนต์ V4 แน่นอน

ถัดมาเป็นเรื่องของช่องลม 45b ซึ่งถ้าใครเคยหาข้อมูลเครื่องบินรบคงพอจะเดาออกได้ว่ามันคือรูปทรง “Naca Duct” ที่นิยมใช้กันอย่างมากสำหรับการดูดอากาศเข้าเครื่องยนต์เจท แต่กับเจ้านี่เราคิดว่าทาง Honda คงตั้งใจออกแบบมาเพื่อให้อากาศไหลผ่านช่วงหลังของตัวรถไปได้รวดเร็วยิ่งขึ้น
ขอบคุณที่มา Morebikes
อ่านข่าว Honda เพิ่มเติมได้ที่นี่
เพื่อนๆ Bikers สามารถติดตามข่าวสารวงการล้อ ได้ทางแฟนเพจ MotoRival ของเราครับ









