แม้ว่าในตอนนี้จะมีสาวกบางคนรอแล้วรอเล่า จนเลิกรอไปแล้วสำหรับการมาของ All-New Honda CBR1000RR ที่หลายคนมองว่ามันไม่น่าจะมาพร้อมกับสเปคที่จัดเต็มขนาดนั้นดังที่เรา, สื่อหลายๆเจ้า, และสื่อญี่ปุ่นได้คาดการณ์กันไว้ แต่ในวันนี้เราจะยังพาเพื่อนๆไปเกาะติดกับเอกสารสิทธิบัตรชุดใหม่ที่เกี่ยวข้องกับเครื่องยนต์ของมันเช่นเดิม เพื่อนำเสนอข้อเท็จจริงที่ยังคงมีให้อัพเดทอยู่เรื่อยๆต่อไป ยังไงก็มาว่ากันเลยครับ

สำหรับชุดสิธบัตรที่เรากำลังจะกล่าวถึงในตอนนี้ ก็แน่นอนว่าจะต้องว่าด้วย เครื่องยนต์ 4 สูบเรียง ที่สื่อญี่ปุ่นระไว้ว่านี่คือของ CBR1000RR รุ่นใหม่ที่กำลังจะเปิดตัวในเร็วๆนี้ ซึ่งหากเราลองเทียบภาพสิทธิบัตรเครื่องยนต์ลูกนี้ กับภาพเครื่องยนต์ของ CBR1000RR โฉมปัจจุบันแล้ว จะเห็นได้ว่า มันไม่ได้มีชิ้นส่วนไหนที่มีหน้าตาคล้ายกันเลยแม้แต่น้อย หรือว่าง่ายๆก็คือ มันเป็นเครื่องยนต์คนละลูกกันเลย และนั่นจึงหมายความว่าใน 2020 CBR1000RR จะต้องมาพร้อมกับขุมกำลังใหม่ซิงๆ ที่ไม่เคยใช้มาก่อนในพี่ๆตระกูลเดียวกัน

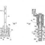
โดยหากกล่าวถึงเนื้อหาหลักๆที่เกี่ยวข้องกับเครื่องยนต์ CBR1000RR ลูกใหม่ลูกนี้ในสิทธิบัตร หลักๆแล้วทาง Honda ก็จะอธิบายถึงระบบกลไกที่ซ่อนอยู่ภายในหลากหลายอย่างด้วยกัน โดยที่เด่นที่สุดก็คือ ระบบ V-TEC หรือวาล์วแปรผัน ที่สามารถทำงานได้ทั้งฝั่งไอดี และไอเสีย ด้วยการใช้แรงดันน้ำมันเป็นตัวขับโซลินอยด์ด้านในให้คุมการทำงานของกระเดื่องกดวาล์วอีกทีว่าจะใช้แคมป์ลูปไหน ระหว่างลูกรอบสุง กับลูปรอบต่ำ เป็นตัวคุมระยะเวลา กับระยะยกวาล์ว ซึ่งอันที่จริงนี่ก็เป็นระบบที่ทางค่ายใช้มานานแล้วในรถยนต์ ส่วนใน CB400 และ VFR800 นั้น ยังเป็น V-TEC แบบทางเดียวคือเฉพาะฝั่งไอดีอยู่

และด้วยเหตุข้างต้น จึงทำให้เครื่องยนต์ 4 สูบเรียงบล็อคใหม่นั้น จะต้องมีการออกแบบทางเดินน้ำมันเครื่องที่ไหลเวียนได้ดียิ่งขึ้น เพื่อไม่ให้ V-TEC ทำงานติดขัด และแน่นอนว่ามันย่อมส่งผลถึงขีดความสามารถในการทำงานของเครื่องยนต์ที่สูงขึ้นด้วย ดังนั้นถ้าหากเจ้า CBR1000RR รุ่นใหม่ จะมาพร้อมกับเครื่องยนต์ลูกนี้ แล้วสามารถปั่นแรงม้าได้ทะลุ 200 ตัว ถึง 210 ตัว ตามที่คาดการณ์กันไว้ได้เสียทีก็คงไม่ใช่เรื่องที่น่าแปลกใจเท่าไหร่นัก ทว่ามันจะเป็ฯเช่นนั้นจริงหรือไม่ อีกไม่ถึง 1 เดือนนับจากนี้ เราก็ได้รู้คำตอบกันแล้วครับ
ขอบคุณข้อมูลจาก kojintekibikematomeblog
อ่านข่าว Honda เพิ่มเติมได้ที่นี่
เพื่อนๆ Bikers สามารถติดตามข่าวสารวงการล้อ ได้ทางแฟนเพจ MotoRival ของเราครับ








