เป็นเรื่องที่น่าสงสัยอย่างมาก ในสิทธิบัตรที่ถูกจดขึ้นอย่างลับๆฉบับนี้ของ Yamaha สำหรับส่วนควบที่ถูกเพิ่มเข้ามาใหม่ ซึ่งเราไม่รู้เลยว่า มันทำมาเพื่ออะไร? ที่แน่ๆ คงไม่ได้ทำออกมาเล่นๆ และเราคาดว่ามันมีสิทธิจะเป็น All New YZF-R6 !
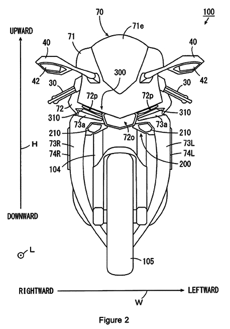
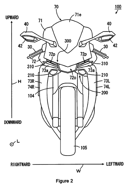
Yamaha factory ได้ทำการจดสิทธิบัตรนี้ขึ้น โดยมีข้อมูลเกี่ยวกับ ชุดไฟหน้า,องค์ประกอบแฟริ่ง และอื่นๆยิบย่อยอีกกว่า 20หน้า ที่เมื่อมองภาพรวมแล้ว ดูเหมือนว่ารถรุ่นดังกล่าวในสิทธิบัตรนั้นจะเป็นโมเดลใหม่ที่ “คล้าย Yamaha YZF-R1” เท่านั้นโดยจุดที่ดูผิดหูผิดตาไปคือ ปลายท่อ (ในวงกลมสีแดง) ซึ่งมีหน้าตาไม่เหมือนกับ R1 รุ่นปัจจุบันที่ทำตลาดอยู่
จากข้อมูลที่ระบุไว้เกี่ยวกับท่อใบนี้ ไล่ตั้งแต่คอท่อไปจนถึงปลายท่อนั้น ไม่ได้มีการลงรายละเอียดไว้เลยว่ามันมีข้อดีอย่างไร หรือมีระบบกลไกอะไรข้างใน บอกเพียงแค่ว่ามีรูปทรงดังที่เห็นเท่านั้น คือมีลักษณะเป็นกระบอกคู่ นอกจากนี้ยังดูสูงล้ำแนวสวิงอาร์มไปมากอีกด้วย

จุดสังเกตุอีกอย่างคือ วิลชิลด์ด้านหน้านั้น มีความลาดเอียง และมีการทำมุมลงมาด้านล่างเป็นรูปตัว V มากกว่า R1 รุ่นปัจจุบันเสียอีก นอกจากนี้ ในส่วนแผงคอ ถังน้ำมัน และซับเฟรมด้านหลัง ยังคล้ายกับ R6 มากอีกซะด้วย
เมื่อมองจากด้านหน้า จะพบว่าที่ส่วนล่างของแฟริ่งซ้ายขวานั้น มีจุดที่นูนออกมามากเป็นพิเศษ ซึ่งการออกแบบลักษณะแบบนี้ไม่เคยมีในรถโมเดลก่อนหน้าเลยแม้แต่รุ่นเดียว

คิดอย่างไรกันบ้างครับ สำหรับสิทธิบัตรใบนี้ ทั้งดีไซน์แปลกๆของแฟริ่งด้านหน้า ที่คล้ายกับ R1 แต่ไม่ใช่ บวกกับรูปทรงตัวรถที่คล้ายคลึงกับ YZF-R6 เหมือนกับการเอาสองรุ่นนี้มาผสมผสานกัน รวมไปถึงท่อที่ไม่มีข้อมูลเลยว่ามันทำอะไรได้บ้าง ใหนจะแฟริ่งด้านข้างที่นูนออกมาแบบที่ไม่เคยมีมาก่อน และจากกฏของการจดสิทธิบัตรที่จะมีระยะเวลาการคุ้มครองที่ 2 ปี นั่นจึงหมายความว่า รถที่มีรูปร่างดังในสิทธิบัตรใบนี้นั้น จะถูกผลิตขึ้นในอนาคตอันไกล้นี้แน่ๆ
ขอบคุณที่มา Morebikes
อ่านข่าวสาร Yamaha เพิ่มเติมได้ที่นี่
เพื่อนๆ Bikers สามารถติดตามข่าวสารวงการล้อ ได้ทางแฟนเพจ MotoRival ของเราครับ

