ได้มีการเผยภาพสิทธิบัตรล่าสุดของ Honda ซึ่งเป็นมอเตอร์ไซค์ ADV ที่เคยยุบสายการผลิตไป นั่นคือรุ่น Honda Transalp มาเปิดสายการผลิตอีกครั้ง หลังจากที่ยุติการทำตลาดไปเมื่อปี 2012

อาจจะไม่คุ้นหูสำหรับคนไทยนัก แต่ Honda Transalp เป็นรถแนว Touring-Adventure ที่มีการเปิดตัวมาตั้งแต่ปี 1987 โดยใช้รหัสรุ่นว่า XL400V, XL600V, XL650V, และ XL700V มาเรื่อยๆตามลำดับจนถึงปี 2012
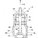
อย่างไรก็ตามมีความเป็นไปได้ว่าเจ้า Transalp จะถูกวางตำแหน่งอยู่ในระดับเดียวกันกับ NC750X แต่จะมีจุดประสงค์เพื่อการใช้งานที่สมบุกสมบันมากกว่า แบบเดียวกับพี่ใหญ่อย่าง CRF1000L (Africa Twin) โดยข้อมูลในสิทธิบัตรยังกล่าวเพิ่มเติมอีกว่าเฟรมและสวิงอาร์มของตัวรถนั้นถูกออกแบบมาเพื่อรองรับการใช้งานแบบ On-Off Road เต็มขั้น

และสิ่งที่น่าสนใจสุดๆคือ All New Honda Transalp จะใช้เครื่องยนต์ที่มีระบบ Hybrid หรือการติดตั้งมอเตอร์ไฟฟ้าติดตั้งเข้ามาเพื่อเพิ่มกำลังสูงสุดของเครื่องยนต์ ช่วยลดอัตราการบริโภคน้ำมัน และอัตราการปล่อยไอเสีย ซึ่งจำเป็นอย่างมากสำหรับรถที่เปิดตัวในปี 2017 เป็นต้นไป ที่ต้องผ่านเกณฑ์มาตรฐานไอเสียสุดเข้มงวดอย่าง Euro4
ขอบคุณที่มา Morebikes
อ่านข่าวสารรถ Hybrid เพิ่มเติมที่ได้ที่นี่
อ่านข่าวสาร Honda เพิ่มเติมที่ได้ที่นี่
เพื่อนๆ Bikers สามารถติดตามข่าวสารวงการล้อ ได้ทางแฟนเพจ MotoRival ของเราครับ






