เมื่อสัปดาห์ก่อนเราได้นำเสนอ ภาพ Render Kawasaki Ninja R2 จากแมกกาซีนญี่ปุ่นกันไปแล้ว วันนี้ขอมาอัพเดทกันต่อกับ ภาพสิทธิบัตรรายละเอียดเครื่องยนต์กันต่อครับ

Kawasaki Factory ได้ยืนยันแล้วว่า รถมอเตอร์ไซค์ขนาดกลาง ที่จะมาพร้อมระบบอัดอากาศซุปเปอร์ชาร์จ แบบเดียวกับ Ninja H2 นั้น จะมาในชื่อ Ninja R2
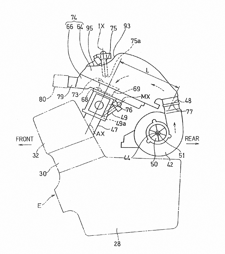
จากการตรวจสอบข้อมูลในสิทธิบัตรใบใหม่ที่ทาง Kawasaki ได้จดขึ้นนั้น มีการลงข้อมูลเกี่ยวกับระบบจ่ายเชื้อเพลิงใหม่ของ Ninja R2 โดยจะมาในรูปแบบ Multi-Point หรือแบบหลายตำแหน่ง

สำหรับระบบจ่ายน้ำมันดังกล่าวนั้น จะแบ่งหัวฉีดออกเป็นสองชุด กล่าวคือหลังจากที่อากาศได้ถูกอัดมาจากซุปเปอร์ชาร์จ (ตำแหน่ง 42) หัวฉีดชุดแรกที่ถูกติดตั้งไว้ที่ท่อรวมไอดี (ต่ำแหน่ง XI) เหนือลิ้นปีกผีเสื้อไปนิดหน่อย จะมีหน้าที่จ่ายน้ำมันให้ผสมกับอากาศแต่เนิ่นๆไว้ก่อนเพื่อให้อากาศผสมกับน้ำมันได้ดีทำให้ประสิทธการเผาไหม้ในรอบต่ำนั้นดียิ่งขึ้น หลังจากที่อากาศถูกส่งผ่านลิ้นปีกผีเสื้อไปแล้ว จะเป็นหน้าที่ของ หัวฉีดชุดที่สอง (ตำแหน่ง 49) ที่ฉีดน้ำมันเพิ่มเข้าไปอีกที เพื่อเพิ่มความรุนแรงของการจุดระเบิดให้สูงยิ่งขึ้น

Kawasaki อธิบายเพิ่มเติมว่าระบบนี้จะช่วยให้การส่งกำลังในแต่ละรอบเครื่องมีความเหมาะสมมากยิ่งขึ้น เนื่องจากในรอบต่ำนั้นจะเป็นหน้าที่ของหัวฉีดชุดแรกเพียงชุดเดียว และเมื่อเปิดคันเร่งมากขึ้นหัวฉีดชุดที่สองจึงจะทำงานเสริมเข้ามาเพื่อการส่งออกกำลังที่มากยิ่งขึ้นในรอบสูง
ขอบคุณที่มา morebike
ภาพ Render จาก Young Machine Edit by MotoRival
อ่านข่าว Kawasaki เพิ่มเติมได้ที่นี่
เพื่อนๆ Bikers สามารถติดตามข่าวสารวงการล้อ ได้ทางแฟนเพจ MotoRival ของเราครับ

