Kawasaki ได้เผยภาพสิทธิบัตรรถทรง Sport Roadster ใหม่ มาพร้อม คราวลิ่งด้านหน้าขนาดใหญ่คล้ายจงอยปากนกและปีกขนาดใหญ่ที่คราวลิ่งด้านข้าง

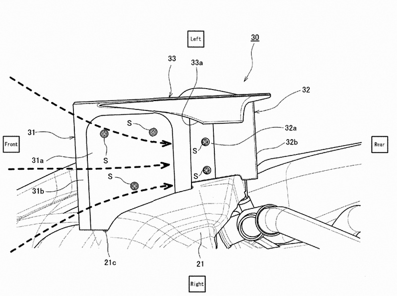
ซึ่งรูปแบบดังกล่าวทาง Kawasaki ระบุว่าจะนำไปใช้กับรถมอเตอร์ไซค์ขนาดกลาง (ไม่ได้กำหนด cc ที่แน่ชัด) ในอณาคต โดยคราวลิ่งด้านหน้ามีลักษณะยืดมาด้านหน้ามากเป็นพิเศษ (เกือบเลยวงล้อหน้า) และกดต่ำลง มีช่องดักลมขนาดใหญ่แบบสองช่องแยกซ้ายขวา พร้อมด้วยปีกด้านข้างขนาดใหญ่ ติดข้างคราวลิ่งซ้ายขวาที่ความสูงเดียวกับหม้อน้ำของตัวรถ

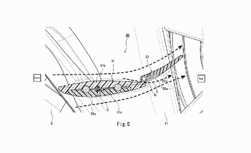
รายละเอียดเพิ่มเติมของปีกทั้งสองข้าง ถูกระบุไว้เป็นชิ้นส่วนลำดับที่ 30 แบ่งออกเป็นชิ้นส่วนย่อยลำดับที่ 31 และ 32 คือปีกชิ้นล่างและชิ้นบนตามลำดับ โดยปีกชิ้นล่างจะมีลักษณะที่กว้าง,ยาว และหนากว่าชิ้นบน แต่มีมุมเอียงที่ต่ำกว่าในขณะที่ชิ้นบนมีองศาค่อนข้างชัน ซึ่งปีกลักษณะนี้เคยถูกติดตั้งไปแล้วในเจ้า Kawasaki H2R

โดยเหตุผลของการใช้ปีกแบบสองชั้นนี้ ข้อมูลในสิทธิบัตรได้ระบุไว้ว่า เพื่อเป็นการสร้างแรงกดให้มีความเหมาะสมกับความเร็วที่แตกต่างกัน (องศาชันมากสำหรับความเร็วต่ำ และชันน้อยสำหรับความเร็วสูง)

และหากดูภาพรวมของรถต้นแบบคันนี้แล้วจะพบว่ามันมีตำแหน่งแฮนด์สูง,เบาะค่อนข้างต่ำที่ถูกออกแบบมาให้นั่งได้อย่างสบายๆ คล้าย Z1000SX (Ninja1000) แต่ใช้สวิงอาร์มที่มีลักษณะธรรมดาแบบเดียวกับ Ninja300R เมื่อประกอบกับข้อมูลที่ทาง Kawasaki ได้ระบุมาว่าจะใช้กับรถมอเตอร์ไซค์ขนาดกลางแล้ว อาจจะเป็น รถขนาด 650 หรือ 800cc ที่จะมาพร้อมกับปีกในอนาคตอันไกล้นี้ก็ได้
อ่านข่าว WSBK เพิ่มเติมได้ที่นี่
อ่านข่าวสาร Kawasaki เพิ่มเติมได้ที่นี่
เพื่อนๆ Bikers สามารถติดตามข่าวสารวงการล้อ ได้ทางแฟนเพจ MotoRival ของเราครับ







