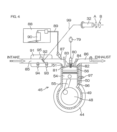
Yamaha ได้เผยสิทธิบัตรใหม่ เกี่ยวกับเทคโนโลยี Idling Stop (ดับเครื่องยนต์อัตโนมัติ) เพื่อมาใช้กับรถจักรยานยนต์ของ ยามาฮ่า ในปัจจุบัน

จากภาพในสิทธิบัตรฉบับนี้ ไม่สามารถระบุได้ว่าเป็นรถ Yamaha รุ่นใด แต่จากข้อมูลในสิทธิบัตร เทคโนโลยีนี้เตรียมนำมาใช้กับรถโมเดลปัจจุบัน โดยจะเป็นฟังชั่นเสริมขึ้นมาในปี 2017 และทาง Yamaha ได้ตั้งชื่อเทคโนโลยีนี้ว่า Idling Stop ซึ่งจะนำมาใช้สำหรับรถสกูตเตอร์ ซึ่งที่จริง Honda มีเทคโนโลยีนี้ให้ใช้มาตั้งนานแล้ว (ตั้งแต่ปี 2010)

ระบบ Idling Stop นี้มีหลักการทำงานง่ายๆ โดยการตั้งเงื่อนไขไว้เป็นลำดับขั้น ดังนี้
– ไม่มีการเปิดคันเร่ง
– ความเร็วต่ำกว่าที่กำหนดไว้
– รอบเครื่องต่ำกว่าที่กำหนดไว้
– อุณภูมิเครื่องต้องไม่ต่ำกว่าที่กำหนด (รักษาระดับไว้เพื่อการสตาร์ทในครั้งต่อไป)
– แบตเตอรี่อยู่ในสภาพสมบูรณ์หรือจ่ายไฟสม่ำเสมอพอ

เมื่อเงื่อนไขดังกล่าว ข้างต้นครบ ระบบจึงจะเริ่มตัดการทำงานเครื่องยนต์ และรอจนกว่าจะมีการเปิดคันเร่งอีกครั้งจึงจะสตาร์ทเครื่องยนต์กลับมาโดยอัตโนมัติ พร้อมวิ่งต่อโดยทันที
ซึ่งจะว่าไป มันก็คือ ระบบ Idling Stop ที่เราพบเห็นกันในรถจักรยานยนต์ Honda ในปัจจุบัน หลายรุ่น
อ่านข่าวสาร Yamaha เพิ่มเติมได้ที่นี่
เพื่อนๆ Bikers สามารถติดตามข่าวสารวงการล้อ ได้ทางแฟนเพจ MotoRival ของเราครับ

