ถือได้ว่าเป็นอีกข้อมูลหนึ่งที่กำลังสร้างความน่าสนใจอย่างมากในโลกออนไลน์ขณะนี้ สำหรับเรื่องของ “สิทธิบัตรเครื่องยนต์ V-Twin พ่วงระบบซุปเปอร์ชาร์จเจอร์” ของ ที่นี่Honda ที่บางสื่อคาดการณ์ว่ามันอาจจะถูกนำไปใช้กับรถมอเตอร์ไซค์ในกลุ่ม 250cc ในเร็วๆนีั้ แต่แท้จริงแล้วมันเป็นอย่างไรนั้น เรามาว่ากันหน่อยดีกว่าครับ

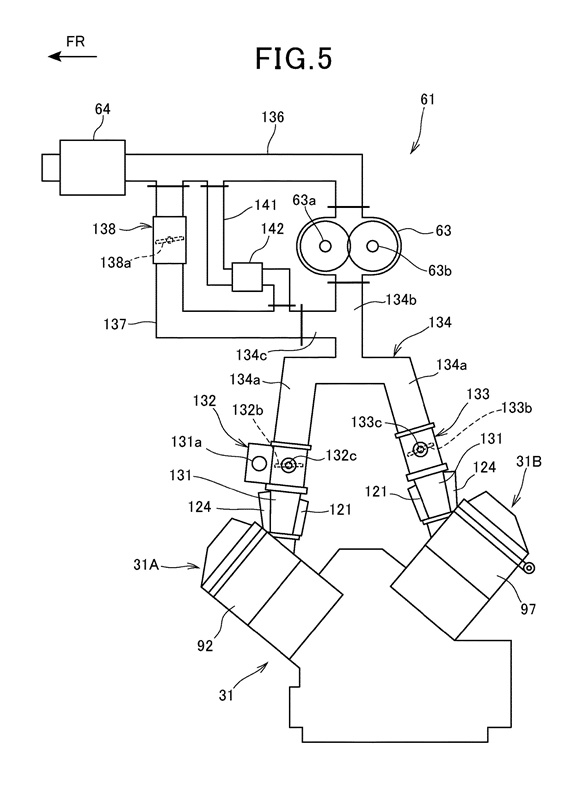
โดยหากเจาะรายละเอียดของเครื่องยนต์ที่ทาง Honda ใช้เพื่ออ้างอิงในเอกสารสิทธิบัตร ด้วยความที่เลย์เอาท์ของมันเป็นแบบ V-Twin จึงทำให้ตำแหน่งของตัวซุปเปอร์ชาร์จจะต้องติดตั้งอยู่จุดกึ่งกลางระหว่างเสื้อสูบหน้าหลังไปโดยปริยาย ซึ่งระบบที่ใช้ขับเคลื่อนตัวซุปเปอร์ชาร์จนั้นทางค่ายก็เลิือกที่จะใช้แบบเฟืองขับ แทนที่จะเป็นแบบโซ่ขับเหมือนกับของทางฝั่ง Kawasaki นอกจากนี้ถ้าหากเพื่อนๆคิดว่าระบบอัดอากาศดังกล่าวยังแรงไม่พอล่ะก็ พวกเค้าก็ยังออกแบบระบบหัวฉีดแบบ Direct-Injection หรือระบบหัวฉีดตรงๆเข้าห้องเครื่องไว้ด้วยเพื่อรับรองกับอากาศที่จะเข้ามามากขึ้นเรียบร้อยแล้วเพื่อเอาใจขาซิ่งทั้งหลาย

ส่วนรูปโฉมของรถตัวอย่างนั้นถือว่าออกไปทางยำใหญ่อยู่พอสมควร เพราะทาง Honda เลือกใช้โครงถักเป็นตัวหลักในการยึดเครื่องยนต์ซึ่งในรถมอเตอร์ไซค์รุ่นใหญ่ๆของทางค่ายไม่ได้มีคันไหนใช้เฟรมถักแบบนี้ เว้นก็แค่เพียง VTR250, CBR250R, และ CBR300R/CB300F (เราหมายถึงว่ามันเป็นเฟรมถักเฉยๆนะครับ
ไม่ได้หมายความว่ามันใช้โครงถักรูปแบบเดียวกับของในภาพอ้างอิงเป้ะๆ)

ส่วนสวิงอาร์มก็เป็นแบบปีกคว่ำซึ่งชิ้นส่วนตรงนี่้ก็ไม่ได้มีรถมอเตอร์ไซค์รุ่นไหนของค่ายใช้มันอยู่เลย (เว้นแต่ตัวแข่งของโรงงาน), แต่ล้อหน้าของตัวรถอ้างอิงนั้นมองแค่ผ่านๆก็พอทราบได้ทันทีเลยว่ามันเป็นของ CBR650F/CB650F แม้กระทั่งเบาะนั่งก็เช่นกัน และจุดสุดท้ายก็คือตำแหน่งพักเท้าซึ่งอยู่เยื้องไปทางด้านหลังและวางไว้สูงมากๆถ้าเทียบจากแนวระนาบของสวิงอาร์มราวกับจะให้นั่งชันเข่าเพื่อหมอบหลบลมเต็มที่ แต่มันก็ยังขัดกับตำแหน่งแฮนด์บาร์ที่วางไว้สูงกว่าเบาะนั่งผู้ขับไปพอสมควร

อย่างไรก็ดี อันที่จริงสิทธิบัตรชุดนี้ไม่ได้เป็นข้อมูลใหม่แต่อย่างใดครับ เพราะมันเป็นเอกสารที่ข้อมูลหลุดออกมาตั้งแต่ปลายปี 2017 นู่นเลย ดังนั้นนี่จึงอาจเป็นเพียงแนวคิดที่พวกเขาจดเอาไว้เผื่อสำหรับการพัฒนารถมอเตอร์ไซค์รุ่นอื่นๆในอนาคตอันไกล กรณีที่เทคโนโลยีช่วยลดมลพิษอื่นๆไม่สามารถทำให้เครื่องยนต์ N/A (หายใจด้วยตนเอง) สามารถปล่อยไอเสียจนผ่านมาตรฐานสุดเข้มงวดได้แล้วเท่านั้น

เพราะหากกล่าวถึงความแรง ในตอนนี้พวกเขาก็ยังมีระบบ V-TEC เก็บไว้ใช้เป็นไม้ตายก้นหีบอยู่นั่นเอง ไม่น่าจะรีบเอามาใช้ในเร็วๆนี้ หรือถึงใช้ก็ไม่น่าจะเป็นรถสปอร์ตเล็กพิกัด 250cc อย่างเช่น Honda CBR250RR แน่นอน เนื่องจากการแข่งขันที่มันถูกส่งเข้าร่วมอย่าง Asia Road Racing ยังไม่อนุมัติให้ตัวแข่งใช้เครื่องยนต์รูปแบบนี้อยู่ดี
ขอบคุณข้อมูลจาก Motorcycle.com
อ่านข่าว Honda เพิ่มเติมได้ที่นี่
เพื่อนๆ Bikers สามารถติดตามข่าวสารวงการล้อ ได้ทางแฟนเพจ MotoRival ของเราครับ









